г. Тюмень, ул. Магнитогорская, 11, корпус 1, офис 13
+7 (3452) 56-81-56
Механизмы управления хлопушей МУВ верхний устанавливаются для открывания и закрывания крышек хлопушек ХП и их фиксации в открытом положении во время проведения приемо-раздаточных операций.
Механизмы управления МУВ является комплектующими вертикальных резервуаров и поставляется вместе с хлопушками ХП.
Механизм управления МУВ монтируется на крыше или горловине резервуара над хлопушей.
Существуют следующие типы механизмов управления верхних:
МУВ-80 — для хлопушек с условным проходом до 80 (включительно)
МУВ-250 — для хлопушек с условным проходом от 80 до 250 (включительно)
МУВ-400 — для хлопушек с условным проходом от 250 до 400 (включительно)
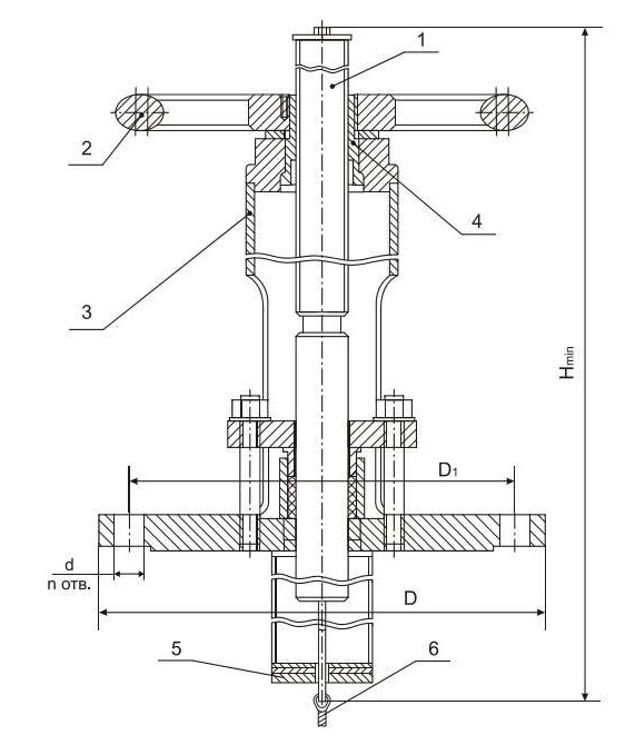
Конструкция механизма управления МУВ включает в себя шток (1), маховик (2), корпус с фланцем (3), гайку (4) и направляющую (5) с тросом (6).
Когда маховик вращается, происходит перемещение штока, связанного тросом с крышкой хлопуши. Подъем и опускания штока приводит к открыванию и закрыванию крышки хлопушки.
Механизмы управления хлопушей МУВ изготавливаются в климатических исполнениях У и УХЛ, категории размещения 1. Срок службы 15 лет.
Механизм управления хлопушей МУВ-80 У1, где:
МУВ - механизм управления хлопушей верхний, для открывания крышек хлопушек с условным проходом Ду80
У1 - климатическое исполнение и категория размещения
| Параметры | МУВ–80 | МУВ–250 | МУВ–400 |
|---|---|---|---|
| Диаметр условного прохода хлопуш ДУ, мм, не более | 80 | 150; 250 | 400 |
| Габаритные размеры, мм: | |||
| H | 990 | 1820 | 2120 |
| D | 260 | 260 | 260 |
| D1 | 225 | 225 | 225 |
| d | 18 | 18 | 18 |
| Количество отверстий n, шт. | 8 | 8 | 8 |
| Масса, кг | 17 | 25 | 30 |
| Условное давление, МПа | 0,1 | ||

1-шток, 2-маховик, 3-корпус с фланцем, 4-гайка, 5-направляющая, 6-трос